FPGA開発日記

カテゴリ別記事インデックス https://msyksphinz.github.io/github_pages , English Version https://fpgadevdiary.hatenadiary.com/

2016-10-06から1日間の記事一覧

Vivado-HLSとAXI4-DMAの試行(1. Vivado-HLSデザインをAXI-Streamインタフェースに対応させる)

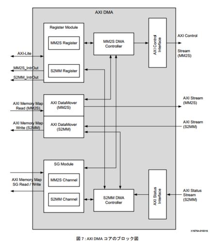
前回行列乗算回路を最適化することで、ソフトウェアと比較して大幅に性能を向上させることに成功した。 msyksphinz.hatenablog.com msyksphinz.hatenablog.com その時に参照していたのが以下の資料だが、そこにはAXI4-DMAを使ったときの方法が書いてある。 h…